泵的知識
管道離心泵工作原理是怎么樣的?
發布時間:2021/10/5 19:45:10 來源:龍洋泵閥 閱讀:37
這里所說的管道離心泵指的是立式離心泵和臥式離心泵,兩種離心泵工作原理基本相同,只是這兩種管道離泵結構不一樣一個是立式一個是臥式。下面龍洋泵閥詳細解說管道離心泵工作原理是怎么樣的。
管道離心泵工作原理
管道離心泵工作原理圖
離心泵啟動之后,泵軸會帶動葉輪一起作高速旋轉運動,迫使預先充灌在葉片間液體旋轉,在慣性離心力的作用下,液體自葉輪中心向外周作徑向運動。液體介質在流經葉輪的運動過程中會獲得能量,導致靜壓能增高,同時增大流速。當液體離開葉輪進入泵殼后,由于殼內流道逐漸擴大而減速,部分動能轉化為靜壓能,最后沿切向流入排出管路。當液體自葉輪中心甩向外周的同時,在葉輪中心將會形成一個低壓區,在貯槽液面與葉輪中心總勢能差的作用下,致使液體被吸進葉輪中心。依靠葉輪的不斷運轉,液體便連續地被吸入和排出。液體在離心泵中獲得的機械能量最終表現為靜壓能的提高。
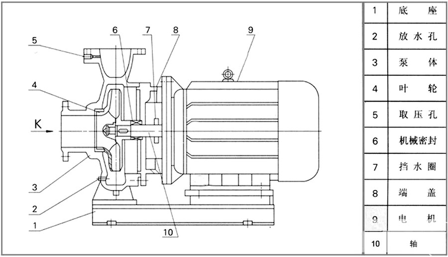
立式管道離心泵結構圖
ISG立式管道離心泵結構圖
臥式管道離心泵結構圖
ISW臥式管道離心泵結構圖
以上就是管道離心泵工作原理詳細說明,簡單說是離心泵葉輪高速旋轉,產生離心力,將水從葉輪中飛過去,泵內的水拋出去。
本文標題:管道離心泵工作原理是怎么樣的?
本文地址:http://m.do5a.com/news/ns-217.html
轉載注明:歡迎轉載!轉載請注明本文地址。
免責聲明:本站原創文章,由龍洋泵閥整理發表,部分文章信息來源于網絡以及網友投稿,不代表本站觀點,如您對文章有任何意見歡迎在下方評論處與我們互動溝通。如本站文章和轉稿涉及版權等問題,請作者在及時聯系本站,我們會盡快處理。
本文地址:http://m.do5a.com/news/ns-217.html
轉載注明:歡迎轉載!轉載請注明本文地址。
免責聲明:本站原創文章,由龍洋泵閥整理發表,部分文章信息來源于網絡以及網友投稿,不代表本站觀點,如您對文章有任何意見歡迎在下方評論處與我們互動溝通。如本站文章和轉稿涉及版權等問題,請作者在及時聯系本站,我們會盡快處理。
推薦知識

最新知識
- G型單螺桿泵工作原理及結構圖
- 立式多級離心泵維修注意事項
- 立式多級離心泵及變頻控制柜技術要求
- 消防水泵控制柜技術要求
- 立式多級離心泵常見故障分析及其排除方法
- 立式多級離心泵常見安裝誤區
- GDL型立式多級管道離心泵產品特點及型號參數
- 無負壓給水設備哪家好
- XBD-(I)型立式多級消防泵產品概述及性能參數
- 無負壓給水設備工作原理
- SXBWP無負壓給水設備技術參數表及報價表
- 立式多級離心泵維修注意事項
- 無負壓給水設備的問題點
- 箱式無負壓給水設備特點是什么?
- 哪家無負壓變頻給水設備質量好?
- 無負壓給水設備樣本
- 立式多級離心泵的執行標準
- 立式多級消防泵單機試車方案
- XBD-GDL立式多級泵結構圖
- 無負壓供水設備工作條件哪些?
- 立式多級離心泵常見安裝誤區
- 詳細說明立式多級消防泵的基本操作
- 立式多級給水泵及變頻控制柜技術要求
- 消防水泵控制柜技術要求
- 立式多級離心泵常見故障分析及其排除方法



